挪挪订货系统如何新增客户信息
2021-01-11 14:28:38
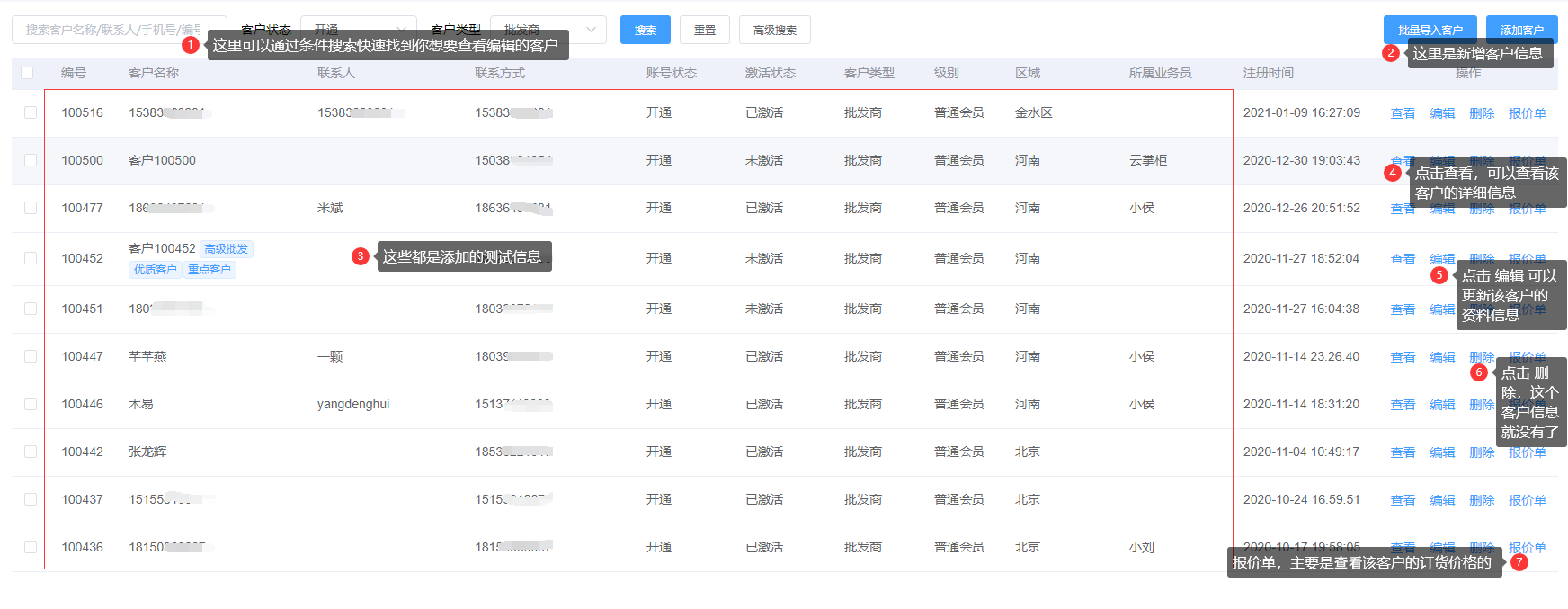
添加/编辑客户信息
入口
客户-客户列表
使用场景
需要新增添加客户信息、或者需要修改编辑客户信息:联系电话、地址、联系人、结算方式、发票信息、查询客户报价等
操作详解
操作路径:客户-客户管理-客户列表-添加客户


注:1.通过搜索客户相关信息可以快速找到客户,客户账号登陆商城以后,自动激活。
编辑客户信息

编辑客户信息,和新增客户信息是一样的,如实客户所属部门及业务员发生变更,客户信息变更则需要更新客户信息。
报价单功能
操作路径:客户-客户管理-客户列表,找到客户-报价单
通过客户信息后面的 报价单 功能,可以快速确定该客户在平台上看到的商品价格。

如上图,就是通过搜索条件,快速确定某一款商品的订货价

